我深感痛心啊,这些老哥真的搞人心态,破坏我们论坛互助友爱的基本操守~
没有人手来处理啊,搞一堆小号,我还要一个一个慢慢查,完全搞我心态,影响其他老哥的取款进度,哎~
本身就是接广告,赚点广告费来给大家发福利,让老哥们自己凭手气拿,结果这些傻屌,我真的服了。
PG娱乐硬性规则
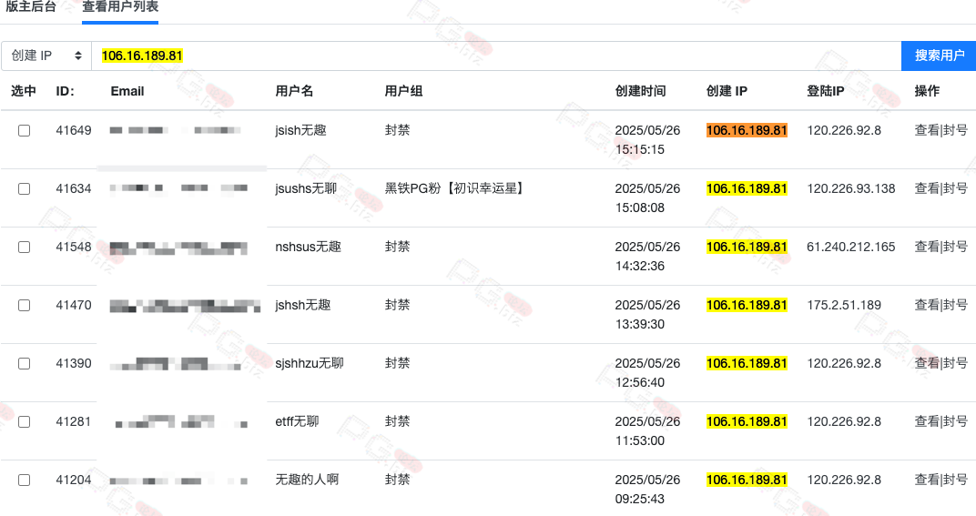
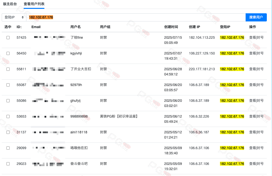
- 禁止搞小号,薅我羊毛,发现就全封[来一个封一个,而且曝光钱包地址-姓名-IP],顶不住了兄弟们~
- 账号乱七八糟[一看就不是正常人能用的],你当我傻啊~
- 搞几个账号还能接受,搞几十个号,你是要搞死我啊~只要多账号,不管几个都不出,先礼后兵!
- 所有查询到有问题,不取款要处理的老哥都会发此贴,不会乱操作每一个老哥,基本上不过分的都是直接同意取款。
- PS:如果你自己充值玩,赢了都是配置的自动取款,不需要审核,搞1万个号我都欢迎,哈哈哈~
防止恶人先告状,所以此贴先通报那些搞一堆小号薅羊毛,取款就不给了,账号封停,并提供截图供各位老哥辨别~我相信老哥眼睛是雪亮的~
还请各位为我助威,群起而攻之~讨伐他!
恳请各位老哥,弟兄,姐妹,叔叔阿姨,别搞我,去搞狗庄,薅白菜区狗庄的台子,我这是弄出来给正常老哥们发福利的,我不赚钱的啊啊啊啊~~~~
TB聊天软件:talkblink.app
注册服务器ID:65886
关于PG论坛的PG娱乐存取款问题,
关于多ip要删号保留一个的老哥们,请在
TB上面联系PG娱乐负责人
白班站长北极星 TB 20256666
24小时在岗

友情提示 :PG论坛易记域名-044.cc
撸成功的老哥,请跟客服说您是从PG论坛 【PG.Biz】过来的。